一、学院及专业介绍
中国政法大学法学院是在原法律系的基础上发展起来的,是中国政法大学的骨干学院。长期以来,我院坚持“学术立院、人才强院、特色兴院、依法治院”,经过全院师生不懈努力,在人才培养、科学研究、社会服务以及文化传承等方面取得了突出贡献。
进入新世纪的法学院,以“法治天下、学问古今”为院训,以学校的办学指导思想和办学目标为导向,全面规划和开展各项中心工作,力争将法学院建成“高品质、创新型、开放性”的一流法学院。
专业简介
宪法学与行政法学是部门法学的重要组成部分,属公法范畴,是法学下设的二级学科。宪法学是以国家根本法为主要研究对象的科学,行政法学是以行政法规范为主要研究对象的科学。主要研究方向有中国宪法学、比较宪法学、中国行政法学、比较行政法学。本专业主要培养宪法学与行政法学的理论研究人才、高校宪法学与行政法学教师及实际部门的高级研究人员。
二、招生目录

①101思想政治理论
②外国语(七选一,详见目录说明)
③701法学综合
④803宪法学与行政法学
招生人数:预计招收65人(含推免33人)
三、专业课参考书目及资料推荐
701法综803宪行
《民法学教程》(第二版)李永军(主)
《中国民法学》李永军《行政法学》(第三版)张树义、罗志敏
《刑法学》(第六版)曲新久《行政诉讼法学》(第五版)马怀德
《法理学导论》(第三版)舒国滢《宪法学》(第六版)焦洪昌
《宪法学》(第六版)焦洪昌
《民事诉讼法学》(第三版)毕玉谦;
《民事诉讼法学》(第六版)【(辅)可不看】
四、复试分数线及录取情况
1.复试线:
2023年:总分365、政治60、英语60、专业课90/90
2022年:总分370、政治60、英语60、专业课90/90
2021年:总分365、政治60、英语60、专业课90/90
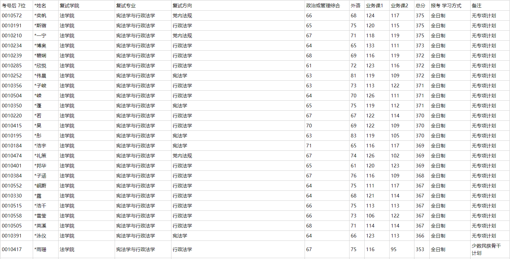
2.复试名单及录取名单(23年内地考生)
复试名单:


录取名单:


3.近年录取情况(内地考生):
2023年:45人进复试(最高分398、最低分一名少数民族骨干353);录取38人(最高分398,最低分一名少数民族骨干353)
2022年:49人进复试(最高分409、最低分370);录取41人(最高分409,最低分370)
2021年:44人进入复试(最高分404、最低分一名退役大学生计划334);录取38人(最高分404、最低分一名退役大学生计划334)
五、初试专业课备考经验
法大的法综内容很多,包括民法、刑法、民诉、法理、宪法。法综的题型主要是:名词解释、简答题、论述题。有的学科可能还会出现案例题,比如法理、刑法。但是考试内容都是一些比较基础的问题,因此,需要师弟师妹们前期打好基础,将每一科的基础内容都要掌握。在复习之初,需要通读将每本教材,以了解每本教材的框架结构。笔者在5月份之前一直在通读教材,大概读了3遍,不过没有必要读那么多遍,只要大概了解内容,心中有数即可,因为一个残酷的现实是,就算读10遍,可能名词解释也不一定能在试卷上写出来,还不如多花时间背诵...在5月之后,我在新祥旭考研找了一个专业课的师兄,进行了一对一的辅导,也许有的人可能会认为专业课师兄师姐会不会没有责任心、知识功底没有专业的老师深厚,但是大家要注意,考研就是个应试考试,可能有再多知识,但不会考试,不也是竹篮打水一场空吗?既然师兄师姐能上岸,其所掌握的考研所需的知识一定是足够的。但是,要想找到负责的专业课师兄师姐,是需要专业的机构进行审核的,这更有保障。在整个备考期间,师兄对我的帮助特别大,指导我对重难点的把握,以及会为我规划整个备考期间的时间安排,而且即使不在上课时间,师兄也会回答我的问题,正因为有师兄的指导,我很少在备考期间焦虑,情绪很稳定,每天按部就班,专心于考研复习。另外,在辅导之余,笔者便根据师兄画的重难点进行背诵啦(6月中旬开始)。这里要提一下,师弟师妹们可能刚开始背诵时会出现白天背了一天,晚上回忆时感觉什么也没有记住,这很正常,笔者也是如此,但只要师弟师妹们能够日复一日地坚持,在考场上一定会“下笔如有神”。
专业课
专业课的题型通常包括简答题、法条分析、论述题、案例题。前面提到,笔者从5月份开始就在师兄的指导下进行专业课的复习。因此,通过师兄的讲解,把握住了重难点,然后进行有针对性、有次序地背诵。专业课的深度相较于法综要更深入一些,除了要把握教材中的内容以外,还需要读一些辅助资料,例如,读法大法学院宪行专业老师们的论文并提炼出这些论文的核心观点,还有一些案例书以锻炼案例分析的能力,此外还有了解行政法学会的热点问题等等,当然,如果有专业的师兄师姐带着备考的话,他们都会为师弟师妹们整理好的~
另外,经常会有师弟师妹问,平时要不要模拟考试,就笔者的经验而言,可以练习但无需多次,一般来说,3次就足够,因为一次考试3个小时,与其花时间默写自己会背的东西,还不如多花时间背诵自己不会的知识点,只要把握住做题的时间安排就可以啦。大家如果在考研复习过程中有困难的话,也不妨报一个辅导班,比如新祥旭考研一对一私人订制辅导课程,针对性强,上课时间可以灵活协商,课下还可以免费答疑解惑,对考研初复试应试备考这块的帮助是非常明显的。
六、复试基本内容和录取规则
复试方式:
今年硕士研究生复试采用现场复试方式。
复试各项要求详见研究生院网站《中国政法大学2023年硕士研究生招生考试复试录取工作办法》《中国政法大学2023年硕士研究生招生考试复试考生须知》。
复试报到和资格审查:
(一)时间:3月28日(周二)9:30-11:00
(注意事项:请全体考生按时报到,学院将进行资格审查和材料收取,并通知复试注意事项。)
(二)地点:海淀校区教学图书综合楼0901教室
(三)资格审查和材料提交:请考生按照《中国政法大学2023年硕士研究生招生考试复试考生须知》中“五、复试须携带材料”的具体要求,在资格审查时将相关材料原件出示供查。同时,考生在报到时需按要求向学院提交资格审查相关材料的复印件。
复试考核:
(一)专业课笔试
根据学校统一安排,于3月28日(周二)18:00-20:00进行,请考生提前20分钟进入考场,笔试时长为2小时。请携带相关考试证件(身份证、准考证、复试通知书),以备查验。
1.笔试地点:(所有考场均在海淀校区教学图书综合楼)
(1)法理学、法律史、党内法规:0904教室
(2)宪法学、行政法学:0901教室
(3)军事法、法与经济学:0905教室
(4)法律职业伦理、体育法、卫生法、教育法:0906教室
2.笔试内容:命题范围详见我校《2023年硕士研究生招生简章》中相关内容。
(二)综合面试(专业课面试和外国语面试)
所有考生请提前30分钟进入候考教室,学院将组织考生抽签确定面试顺序。若因考生未按时到达候考教室造成考生错过抽签,视为考生自愿服从现场安排的面试顺序。法学院面试地点均在海淀校区教学图书综合楼。
成绩计算:
(一)复试成绩计算
考生复试成绩由各专业导师组根据考生复试情况评定。复试各项成绩均按百分制折算,满分为100分,除特殊说明外,计算公式一般为:复试成绩=专业课笔试成绩*30%+专业课面试成绩*50%+外国语面试成绩*20%。
(二)总成绩计算
总成绩满分为100分,除特殊说明外,计算公式一般为:总成绩=按百分制折算后的初试成绩*50%+复试成绩*50%。
录取:
拟录取名单根据考生参加复试专业按照总成绩从高分到低分依次确定,一志愿考生优先。如总成绩相同,按照初试总分排序;初试总分、复试成绩相同,按照复试专业课笔试成绩排序。
复试成绩或专业课面试成绩未达到60分者,不予录取;思想政治素质、道德品质考核或体检不合格者,取消录取资格。
七、新祥旭考研集训营介绍
大家好,我是新祥旭考研黄老师。最近呢有很多2025年想要考研到北京大学的小伙伴们问我说:“老师,考研有没有必要报集训营的课程呢,为什么最近我有好多已经考上研究生认识的学长学姐跟我推荐考北京大学一定要报咱们新祥旭家的集训营课程嘞?”跟我们说说呗——
老师认为啊,考研要不要报班尤其是要不要报集训营课程,还真是要看下您自己的情况!如果您是真学霸,说实在的您什么辅导班都不用报,单凭自学也是有很大可能性考取研究生滴。但是反之如果同学您就是一般化的大学生且学习效率啊、自律性啊等等不够高的话,老师还是建议您在经济条件允许范畴内,尽量报一个集训营类的课程。拿我们新祥旭考研集训营体系来说优势还是十分明显的:首先呢集训营课程属于封闭式(当然了学员们临时确有紧急事情也是可以提前请假打招呼外出的)授课环境,减少了隔断了外界对于大家的干扰,能够让大家有个清静的能够沉下心来研学的客观环境;其次呢在集训营期间呢,对喽您不是一个人在战斗!不是一个人在战斗!不是一个人!会有很多考研的小伙伴儿们陪着您大家一起努力上课及复习的,也可以看到其它研友们的学习进度、学习状态等唔得,反躬自身相得益彰,其实是可以降低一点点复习过程中产生的孤独感、焦虑感、彷徨感、不自信感等,慰藉一下脆弱的小心灵!还有就是在这个集训营里面会配备有专门的院校/专业规划团队、公共课答疑老师团队(专业课师资是一对一单线联系)、教务班主任老师团队以及心理疏导团队、后勤保障团队等,对于大家集训期间的方方面面问题或困惑都能给予及时有效的解决、跟进、总结复盘的,身心都能得到不同程度的淬炼和提升。接下来给大家具体细说一下咱们新祥旭考研集训营的优势吧:
首先通过与其他机构集训营相比,新祥旭更加注重考研专业课的学习,通过相同专业集中授课、专题知识头脑风暴、加大专业课一对一辅导力度等形式提高学员的整体成绩。同时配备师资担任班主任进行全程管理和答疑,构筑了一套完整的封闭式集训营学习体系,既能够使广大考研学子学的开心,也能够使广大学生家长放心。其次新祥旭考研集训营是全国首先开设的考研集训营之一,新祥旭考研集训营设施齐全,师资都是严格挑选。通过“考研就要一次性考上”的集训营文化,培养考研学生互帮互助、积极乐观的考研心态,提高学生学习的自主性和积极性,克服考研学员懒散的习惯,培养良好的复习作息规律,争取集训一次就能够圆梦考研。而且通过以下方法来确保其效果。
第一,在英语课程体系的设置上,前期主抓词汇量和语法,例如课时量的增加、定期训练考核、每日定时定量晨读训练等方式均设置到课程服务体系当中。我们还会加强学员阅读和写作经典句式的背诵、严格监督考核并让学科班主任定期督促学员写作训练,同时提供作文批改服务,最终确保学员真正的写出高分作文。
第二,在政治课程体系的设置上,基础阶段让学员先掌握考研政治的核心基础知识,建立起知识框架,在暑期强化阶段有效授课和分模块强化训练,冲刺阶段严格的模拟考试以及题型训练,最终加上考前考题精准预测,成绩整体提升10-20分以达到较高分数,因此设置课程体系时重点考虑到基础阶段的课程设置以及各个阶段的题目训练考评。
第三在数学课程体系的设置上,我们重点考虑到基础知识的加强并同时增加分章节、分模块的知识点强化训练和考评,每次考评后大家整体掌握不好的知识模块,授课老师会跟大家重新细致讲解,然后再对学员进行系统训练考核以确保学员对各章节知识点的充分消化和掌握。
第四在专业课课程设置上,全程一对一高分直系学长学姐针对性辅导授课,学员可以随报随学全程辅导,辅导方式为网络辅导或面授辅导,免费发放考研专业课内部资料,按学员专业基础灵活分配辅导课时,模拟考试和讲解,全程跟踪答疑和心理辅导,加强对专业课考试的试卷题型、考查范围和重难点内容的详细了解。
新祥旭集训营全年课程安排:

八、新祥旭2025年考研集训营基地整体环境展示



































